Publisert den 12.01.2026 av RYDD Reolsystem AS
Lageret er arbeidsplassen til mange ansatte, derfor er det viktig at sikkerheten er i orden. NÃ¥r hadde dere reolkontroll sist?
Oppstår det et arbeidsuhell eller ulykke der reoler eller lagerinnredning er involvert, kan bedriften risikere påtale om reolene eller lagerinnretningen ikke er i skikkelig stand. Med årlig kontroll gjennomført og dokumentert, samt om feil og mangler blir fortløpende utbedret, sørger du for at lageret er trygt og sikkert for alle.
I henhold til Arbeidstilsynets forskrift om utførelse av arbeid kapittel 12 og Norsk Standard, NS-EN15635:2008, er alle bedrifter pålagt å utføre regelmessige kontroll av lagerinnretninger hver 12. måned.
Alle bedrifter er i tillegg forpliktet til å følge arbeidsmiljølovens §3.1 og §3.2:
Alle ansatte skal ha et trygt arbeidsmiljø.
Men, ser man litt videre fra de formelle kravene og hensynet til de ansatte, er det faktisk meget god forretningsdrift å sørge for at reolene er i orden til enhver tid. Utbedrer man skader før de får konsekvenser, eller enda bedre om svakheter kan avdekkes før det oppstår skade - kan det bety tusenvis av kroner spart.
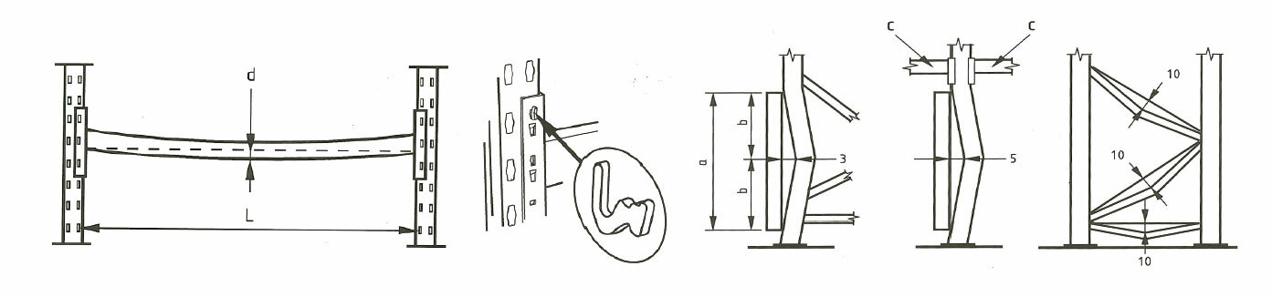
- Det er langt rimeligere å skifte en stigebensbeskytter, enn å demontere og erstatte en hel reol!
Stort sett alle nye reolsystemer vi prosjekterer og monterer i dag, anbefaler vi på det sterkeste å investere i påkjøringsvern og stigebeskyttelse. Er uhellet ute, og man tar borti med truck eller lift, er det mye rimeligere å bytte ut stigebeskytteren enn å demontere en hel reol og erstatte deler eller hele reolen.

Om du overlater kontrollen til oss, slipper du å holde styr på dette selv og sette deg inn i regelverket for reolkontroll ihht NS-EN15635:2008.
Vi planlegger og gjennomfører kontrollen i vårt digitale system der vi dokumenterer både kontroll og etterkontroll. Du får PDF-rapport i etterkant.
Rapporten inneholder bilder og beskrivelse om hva som må utbedres. Vi tilbyr også rask og sikker utbedring av avdekkede feil.
Etter utbedring og etterkontroll får du sluttrapport som dokumenterer utbedret feil og godkjente reoler for trygg og sikker bruk.
Med vår digitale Reolkontroll og Etterkontroll får du med årene også god historikk på gjentakende skader og feil, som kan avdekke om det krever bruksendring eller andre tiltak.
Reolkontroll kan være like aktuelt for småvarereoler, som pallereoler på et større lager.

Under reolkontrollen merker vi reolene etter trafikklysmodellen:
Les mer om og avtal årlig kontroll av dine reoler og lagerinnretninger her.